Contents
Complements Industry Standard Workflow

AATCC TM22 Spray Test Method for Water Repellency in Textile

Quantify the wetting signals behind your spray grade to speed QC decisions and reduce failed TM22 runs

Who this is for
QA/QC teams, fabric finishing engineers (stenter/coating lines), and R&D chemists responsible for DWR performance.
Positioning
Dropometer does not replace TM22. It adds quantitative wetting data that anticipates and explains the spray grade, so you run fewer, more successful full tests.
Last updated
March 16, 2026
Written by
No biography added yet.
Read More
Technical Review by
N/A
No biography added yet.
Read More
Verified against AATCC TM22 (Revision: 2024)
Written By

No biography added yet.

Reviewed By

N/A N/A

No biography added yet.

Evidence Box

Standard:

AATCC TM22 (Spray Test) is the final pass/fail grade for water repellency.

Dropometer role in workflow:

Providing quantitative upstream wetting signals to anticipate/interpret TM22 outcomes; it does not replace TM22.

Primary outputs:

● CA @ 2.0 s (median across ≥5 spots)
● ΔCA (2→10 s) optional (wicking/time-dependence, penetration)
● Variability (IQR) (heterogeneity / non-uniform finish)

Calibration requirement:

Thresholds must be calibrated per fabric family by correlating Dropometer outputs to TM22 grades (10–20 swatches spanning grades). Recalibrate if weave/fiber/finish/cure/conditioning changes.

Protocol defaults (starting point):

10–15 µL DI water; capture at 2.0 s ± 0.2 s (optional 10.0 s ± 0.5 s); ≥5 spots; report median + IQR

Known limitations:

Porous/rough textiles can show strong time dependence; hysteresis (θₐ/θᵣ) is optional when stable; always report capture time because CA can change after deposition.

Controls & Data Quality:

Measure a known-good control swatch every batch/run. Reject and re-run a spot if droplet edge/fit QC fails (e.g., unstable baseline, irregular edge).”

How this page was created

Editorial and technical transparency notes for this page.

Transparency Details 3 checklist items
01

Drafting assistance

An initial draft was created with AI assistance (ChatGPT 5.2 Pro).

02

Verification steps

Standard identifiers, units, thresholds, and key procedural claims are checked against cited sources before publication

03

Updates

Reviewed every 12 months or when the underlying standard changes.

Executive Summary

AATCC test • spray test • test method for water repellency

This page helps you answer one practical question: Is this fabric lot likely to pass AATCC TM22 and, if not, what should we adjust first (finish chemistry, cure, or fabric structure) before we waste time running the spray test?

Those outputs enable immediate action: you can gate lots into Green/Yellow/Red (send to TM22 now, re-check/adjust, or hold and triage), and you can use the same numbers with a known-good control swatch to detect drift early and target corrections upstream instead of “spray-and-guess.”

The Context

Why the AATCC TM22 spray rating matters

The AATCC TM22 Spray Test is widely used for water repellency and performance of water repellent textiles because it simulates rain impact and yields a quick visual grade (100, 90, 80…).

However, it is a lagging indicator. It tells you that a fabric failed, but not why. If a lot rates a 70 instead of a 90, is it because the DWR concentration was low, the cure was off, or the weave is too open?

The spray test cannot fully separate chemistry effects from mechanical structure effects. That gap commonly drives trial-and-error on the finishing line (adding chemistry when the root cause is structure), and it can mask early drift until a full TM22 run fails.

What the AATCC TM22 spray test method actually evaluates

AATCC test method • spray • textile

AATCC stands for the American Association of Textile Chemists and Colorists, and TM22 is a classic AATCC test method for grading surface wetting resistance after a defined spray exposure.

This test method is often summarized as follows: the test method is applicable to any textile fabric (with or without a water-repellent finish) and focuses on resistance to wetting by water rather than bulk hydrostatic protection.

It's useful to be precise about what TM22 is and isn't:

• It provides a visual wetting grade related to liquid repellency and surface wetting.
• It is not an "airtight" barrier metric; it does not replace separate tests for bulk water intrusion. In that sense, it is not an impact penetration test for hydrostatic leakage, even though it does relate to water resistance to surface wetting.

Mechanism note (practical): The TM22 grade is influenced by both surface chemistry (finish) and structure (fiber, weave/knit, roughness, porosity). If wetting advances by absorption, you may see time-dependent behavior and increasing water penetration risk in end use.

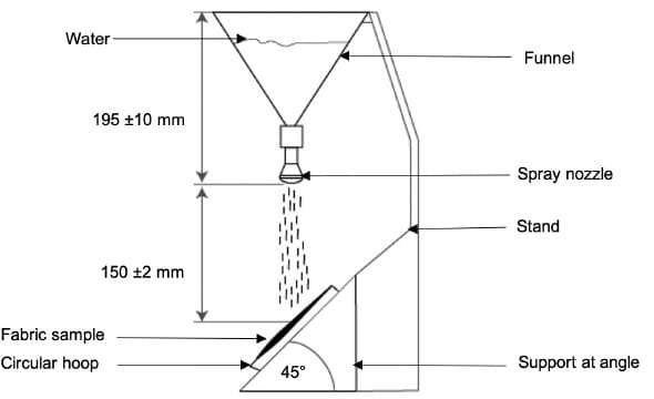
AATCC TM22 test apparatus overview

(spray test apparatus used • test method • tester)

For operational clarity (and for maintenance/procurement teams), the spray test apparatus used in TM22 includes a mounting frame and a spray head assembly that produces a defined spray pattern onto an inclined fabric.

AATCC TM22 specifies how the specimen is mounted and sprayed, and how the wetted pattern is evaluated against the standard chart/rating scale. For compliance and inter-lab comparability, follow the current official AATCC TM22 revision used in your lab for the exact water volume/temperature, spray duration, incline angle, nozzle-to-specimen distance, and tapping/rating timing.

Why this matters in QC: the repeatability of the apparatus (pattern, volume, angle, timing) directly affects the wetting pattern and the final grade.

AATCC TM22 spray test apparatus diagram showing labeled components

Apparatus overview

How Dropometer Fits the Workflow

We recommend using TM22 as your final pass/fail gate, and adding Dropometer upstream as a pre-screen and a triage tool.

1

Pre-screening (upstream “go/no-go” before TM22 spray)

Immediately after finishing (or incoming QC), measure:

  • CA @ 2.0 s (repellency signal)
  • CA @ 10.0 s (porous/wicking sensitivity)

Textile wetting is often time-dependent, so a fixed capture time is essential for comparability. A large time drop often indicates absorption dynamics and penetration pathways that can later show up as poorer spray grades.

2

Root-cause triage (fast, practical but not overly binary)

Use a “most likely cause + rule-out check” approach:

  • Time-dependence dominant (wicking/penetration): Big drop from CA@2s to CA@10s or strong spot-to-spot variability suggests absorption dynamics; standardize capture time and consider two timepoints for that fabric family. This is often where penetration effects show up first on open structures.
  • Adhesion/pinning tendency (optional): High hysteresis (if stable to measure) commonly reflects roughness/heterogeneity and contact-line pinning—useful diagnostically, not uniquely “texture-only.”
  • Chemistry drift (optional): SFE trends from Neumann / Fowkes / Oss & Good can support a “finish chemistry changed/patchy” hypothesis when run with consistent probe liquids and compared against a known-good control swatch.

Validated measurement approach

Independent benchmarking and publication-based validation references.

Benchmark Validation

Our Contact angle and pendant‑drop surface tension methods have been benchmarked against KRÜSS DSA100E reference measurements.

See peer‑reviewed validation

Publication Evidence

Our instruments are referenced in peer‑reviewed journals, theses, and conference publications

Browse the full citations list

How our Fabric Sample Holder helps

The Dropometer Fabric Sample Holder quick-clamps coupons and applies a gentle, uniform stretch to remove slack. Teams report minutes saved per specimen, fewer misreads on bouncy knits, and cleaner droplet edges; so you reach decisions faster with fewer repeats.

Faster prep, stable edges on knits, fewer repeats

Calibration first

AATCC TM22 • aatcc test

TM22 is commonly used for screening, but your numeric gates must be calibrated per fabric family (weave, fiber blend, finish, cure line).

Build your TM22 correlation in one shift

Select 10–20 swatches spanning known TM22 grades (or intentionally varied add-on/cure).

Measure on each swatch (and the control swatch each run):
• CA @ 2.0 s
• CA @ 10.0 s
• Spot-to-spot spread (IQR)
• Optional: θₐ, θᵣ (only if stable)

Run TM22 on the same swatches.

Output: a simple Green / Yellow / Red rule set for that fabric family.

Re-calibrate when: weave spec changes, finish chemistry changes, cure recipe changes, or major conditioning changes.

Example output

Below is an example of what your calibrated "gates" might look like for one fabric family. Treat these as placeholders not universal thresholds.

Gate Typical TM22 outcome CA @ 2.0s (median) ΔCA = CA(2s) − CA(10s) Optional: hysteresis Δθ What to do
Green90–100≥ 135°≤ 10° drop≤ 15° (if stable)Send to TM22 confirm
Yellow80–90125–135°10–25° drop15–30°Check cure/add-on; re-test 1–2 swatches
Red≤ 70< 125°> 25° drop> 25° dropHold lot; triage root cause before TM22

Why the timepoints matter: contact angles on fibrous/cellulosic/porous surfaces can decrease with time as wetting/penetration proceeds, so "CA without a timestamp" is not comparable.

A scatter plot of TM22 grade vs CA@2s, colored by Green/Yellow/Red bands

A second plot of ΔCA(2→10s) to visualize wicking sensitivity

QC-ready quick protocol (SOP card)

AATCC • spray • water repellency

Goal: Repeatable numbers that correlate with TM22 trends.

Sample handling

• Condition swatches to your lab standard (define RH/temp).
• Use consistent coupon size and orientation.

Setup

• Clamp coupon with defined tension (consistent slack removal).
• Always include one control swatch (known good) every batch/run.

Measurement (baseline method)

• Dispense 10–15 µL DI water drop (starting point; tune per weave).
• Capture CA @ 2.0s ± 0.2s, and optionally CA @ 10.0s ± 0.5s.
• Replicates: ≥5 spots per swatch; record median + IQR.

If advancing/receding is unstable on your textile (common on open weaves)

Advancing/receding angles can be difficult on rough/porous fabrics. If θᵣ is noisy or fails QC, use an adhesion proxy instead:

• ΔCA(2→10s) (bigger drop = more wicking/penetration)
• Spot-to-spot variability (IQR) (bigger spread = heterogeneity/nonuniform finish)

keep Δθ as "optional when stable." This still aligns with known drivers of hysteresis/pinning without forcing a fragile measurement.

Decision tree (probabilistic) — triage + rule-out checks

spray • textile

Start: TM22 grade trending down OR pre-screen hits Yellow/Red.

A) Chemistry drift suspected

Signals:

CA@2s down + control swatch stable; optional Fowkes may show polar component increasing, or Oss & Good may show Lewis acid/base terms shifting—treat as a trend vs control, not a stand-alone verdict

Rule-out:

verify add-on %, cure profile; compare to control swatch and a retained “golden” sample

B) Structure/heterogeneity suspected

Signals:

CA@2s acceptable but variability high; optional Δθ high (if stable).

Rule-out:

confirm weave/roughness spec and coating uniformity; compare face/back sides if relevant.

C) Wicking/time-dependence dominates

Signals:

CA@2s high but CA@10s collapses; strong sensitivity to time/placement.

Rule-out:

enforce capture times; consider reporting both timepoints for that family

A flowchart version of above process

Method Settings (SOP-Ready)

Parameter Recommended Setting Technical Rationale
Geometry Sessile Drop (Static) + Optional advancing (θₐ) and receding (θᵣ) where stable Static CA provides a fast repellency screen. Hysteresis is diagnostic but can be difficult on porous/rough textiles.
Timepoints 2.0s (primary), optional 10.0s Textiles can show strong time dependence due to penetration/wicking; timestamping improves comparability.
Optional Δθ θₐ and θᵣ when stable Diagnostic for pinning/heterogeneity; optional only.
Droplet Volume 10–15 µL (starting point; calibrate per fabric family) Validate during correlation building so gates match your TM22 program.
Liquids DI water (baseline). For SFE modeling, select liquids based on the model used. Neumann: 1 liquid; Fowkes: multiple liquids; Oss & Good: ≥3 liquids (e.g., water + diiodomethane + glycerol often used in practice).
Replicates ≥5 spots + median/IQR Fabric heterogeneity is real; spread improves correlation to TM22 outcomes.

Interpretation

(AATCC test method • spray)

Contact angle at a fixed time (e.g., CA @ 2.0 s): primary upstream screen for whether a lot is trending toward a TM22 miss; calibrate thresholds per fabric family.
Time dependence (e.g., CA @ 2.0 s vs CA @ 10.0 s): a large drop indicates wetting/penetration dynamics dominating on that fabric.
Hysteresis (Δθ), when stable: higher hysteresis often reflects stronger pinning from roughness/heterogeneity; triage signal only.
SFE trends (Neumann / Fowkes / Oss & Good): supporting evidence for finish drift relative to control swatch; keep liquids/timepoint/volume/conditioning fixed.

Business impact — Before/After Dropometer

Metric Before Dropometer With Dropometer
Lab Cycles TM22 loops to discover failure Fewer TM22 runs wasted on “dead-on-arrival” lots; faster screening.
Root Cause Chemistry vs structure unclear CA@time + ΔCA + variability
Scrap Rate Failures discovered late Drift detection during the run using control swatch + numeric gates.
Supplier Disputes “Looks wet” arguments Timestamped numeric QC targets improve traceability.

Instant ROI Snapshot

Calculate your savings in real time.

Result

≈0
hrs/month saved
≈$0
/month ROI

Where do these numbers come from? i You enter your current total time per test (dispense + record + analyze + save). The calculator assumes that our Dropometer reduces that workflow to ~1.1 minutes per test (dispense + capture + automated fit + export). Time saved per test = max(0, your time − 1.1 min). Monthly hours saved = (monthly tests × minutes saved per test) ÷ 60, and monthly savings = hours saved × labor rate.

Common pitfalls & limits

(spray • water repellency)

On open weaves or bouncy knits, the droplet may settle into the fabric structure over time. Always report the capture time (e.g., “measured at 2.0s”). Do not compare a 2-second reading with a 10-second reading.
Hysteresis isn’t single-cause proof: roughness/heterogeneity/pinning dominate; use as a diagnostic with rule-outs.
Replicates matter: spot-to-spot spread is meaningful on textiles—keep it.

Finish chemistry context

(PFAS / fluorinated finishes) (water repellency • textile)

TM22 is chemistry-agnostic (it grades wetting performance), but many historical DWR programs used side-chain fluorinated polymers. Over time, regulatory attention has focused on perfluoroalkyl and polyfluoroalkyl substances and related per- and polyfluorinated chemicals, including legacy substances such as pfoa and pfos, plus classes like pfcas and pfsas. These can appear as residuals, degradation products, or related species (e.g., perfluoroalkyl carboxylic acids and other long-chain perfluoroalkyl acids) where chain length is one key factor; many programs shifted to shorter-chain approaches and an ongoing move towards non-fluorinated chemistries. In practice, many teams are moving towards non-fluorinated chemistries to provide comparable repellency and durability using alternative chemistries.

Practical QC implication:

finishes can behave differently against liquids with higher surface tension versus more challenging liquids; if your end-use includes oils/solvents, consider broader screening (e.g., additional polar liquids) alongside TM22 where appropriate. Also evaluate the durability of the repellent after laundering/abrasion relevant to your product. This is especially important for fabrics treated to become repellent fabrics in demanding service.

Legal note (AATCC test method)

This page summarizes how Dropometer supports TM22 programs and does not reproduce AATCC text or confer third-party certification. Always consult the official AATCC method for full requirements and the official evaluation scale.

Report a correction

Spotted an issue in this summary? Send a correction request and our team will review it.

Correction Request

We work hard to keep this standards summary accurate and up to date. If you spot an error (wrong revision/year, missing requirement, incorrect interpretation, or broken link), tell us and we'll review it.

Contact us to report a correction

Download Experiment